No.0003700
LUVIS C500 キャスタータイプ
- 販売名
- デンティスLUVIS C500
- 医療機器届出番号
- 40B1X10003GE0203
- 一般的名称
- 汎用歯科用照明器
特徴
-
移動自在なキャスター仕様
-
フルHDカメラ搭載
-
高照度照明(最大50,000ルクス)
※北海道・沖縄・青森・秋田・岩手・山形・宮城・福島・新潟・長野につきましては、現時点では販売・設置ができないエリアとなっております。
※商品代金および設置費用につきましては、お取引のあるディーラー様までお問い合わせください。
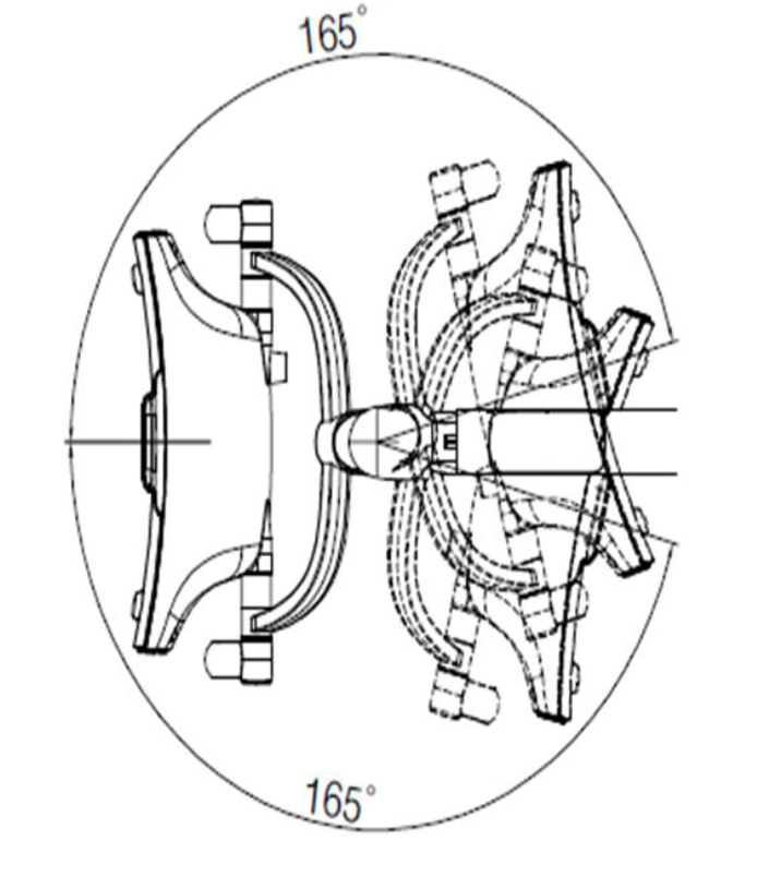
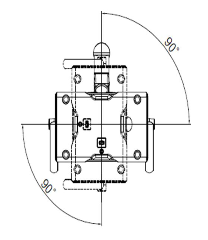
詳細サイズ・ヘッドアームの可動範囲
-
本装置を表示された可動範囲を超えて動作させると、破損の恐れがあります。ポジショニングの際は、ライトヘッドやスプリングアームと他の機器との衝突を避ける必要があります。
-
この図は製品の可動範囲を示すために作成されたイメージです。実際の製品形状とは異なる場合があります。
-
アームに物を置いたり、ぶら下げたりしないでください。
-
本装置を表示された可動範囲を超えて操作すると、破損の恐れがあります。
仕様表(スペック)
| 仕様:キャスタータイプ | モバイル垂直アームに、付属の金具で27インチまでのモニターを取り付け可能です。※モニターは別売りです。 |
